專注聯軸器研發與制造 打造聯軸器行業領軍品牌
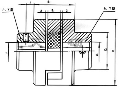
滑塊聯軸器與十字滑塊聯軸器結構相似,不同之處在于中間十字滑塊為方形滑塊,利用中間滑塊在其兩側半聯軸器端面的相應徑向槽內滑動,以實現兩半聯軸器聯接。該聯軸器噪聲大,效率低,磨損快,一般盡量不選用,只有轉速很低的場合,本標準所規定的滑塊聯軸器,適用于油泵裝置或其它傳遞扭矩較小的場合,具有一定補償兩軸相對偏移量,減震和緩沖性能;其工作溫度為-20~70°C。傳遞公稱扭矩為16~500N.m。
滑塊聯軸器許用補償量:軸向△ x=1~2mm , 徑向△ y ≤ 0.2mm ,角向△α≤ 40 ′。

滑塊聯軸器,WH型-滑塊連軸器基本參數和主要尺寸 mm

注:1、表中聯軸器質量、轉動慣量是按最小軸孔直徑和最大長度計算的近似值。
2、括號內的數值盡量不選用。
3、工作環境溫度-20~+70℃。